Changan Lumin Corn — это небольшой электромобиль, созданный Avatr Technology. Его изображения и характеристики были недавно обнародованы китайским MIIT. Нам также удалось найти шпионские снимки салона этого крошечного автомобиля. Итак, давайте знакомиться с кукурузой Changan Lumin.
Что такое Чанган Люмин?

Согласно документам, Lumin является брендом Avatr Technology. Сама Avatr Technology является совместным предприятием Changan и CATL. Huawei также участвует в проекте Avatr, но не имеет акций. Таким образом, Lumin также может быть совместным проектом Changan New Energy, CATL и Huawei. Как ни странно, согласно документам, новый бренд также может заниматься производством шин для автомобилей и велосипедов. Китайские СМИ предполагают, что Lumin — это бренд, но пока в этом нет уверенности. Он может стать суббрендом или линией. Сама Changan еще не объявила позицию Lumin на рынке.
Что такое кукуруза Changan Lumin?
Раньше кукуруза Changan Lumin была известна как A158. Он основан на платформе Changan EPA0, разработанной для хэтчбеков и городских автомобилей. Название «Кукуруза» переводится с китайского 糯玉米 (нуоюми). Lumin Corn — это двухдверный электромобиль с четырьмя сиденьями. Он имеет приятный внешний вид благодаря округлой форме, круглым светодиодным фонарям и выдвижным дверным ручкам. Также доступны стандартные дверные ручки.
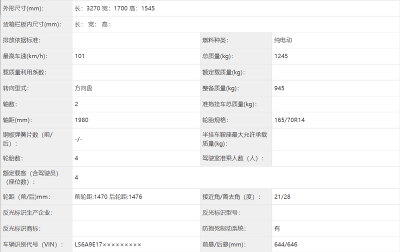
Габариты Lumin Corn составляют 3270/1700/1545 мм при колесной базе 1980 мм. Так что это небольшой автомобиль, который также имеет маленькие колеса 165/70 R14. Lumin Corn имеет приличные углы въезда и съезда 21 и 28 градусов благодаря небольшим бамперам.
Lumin Corn имеет две версии с разной выходной мощностью. Первый получил мощность 30 кВт (41 л.с.). А второй выдает мощность 35 кВт (48 л.с.). Lumin Corn с большим количеством лошадей весит 945 кг — на 105 кг тяжелее версии с менее мощным мотором. Еще одно различие между двумя версиями — батарея. Lumin Corn мощностью 30 кВт имеет батарею LFP от Gotion Hightech, а модель мощностью 35 кВт получила батарею LFP от CATL. По данным китайских СМИ, будет две версии Lumin с дальностью полета 150 км и 210 км. Обе версии имеют максимальную скорость, ограниченную 101 км/ч.

По мнению МИИТ, здесь можно избавиться от многих вещей, чтобы сделать эту машину дешевле. Есть версия без ходовых огней, камеры заднего вида, колпаков и т.д. Так что этот автомобиль наверняка будет играть в расширенном сегменте.
Changan также поделился некоторыми официальными изображениями Lumin Corn. Он имеет различные цвета. У некоторых есть прекрасные имена, такие как «Белый туман» или «Голубой». Но другие просто причудливые, такие как «Серая сорока» или «Желтая пшеница».
Чанган Люмин Интерьер
Есть несколько шпионских снимков интерьера Changan Lumin Corn. Но многие из них плохого качества. Нам посчастливилось найти несколько скриншотов из онлайн-трансляции через приложение TikTok, где какой-то парень показал интерьер Lumin Corn. На этих кадрах мы видим трехспицевый руль с плоским днищем. Забавно, что автомобиль с максимальной скоростью 101 км/ч получил такое спортивное колесо. На руле есть надпись «LUMIN». За рулем мы видим цифровую приборную панель. Там написано, что Lumin Corn может проехать до 186 км при 93% заряде аккумулятора.
Центральный туннель крошечный и имеет поворотный переключатель передач, переключатели стеклоподъемников и т. д. На центральной панели есть практичные физические кнопки для климат-контроля. Что касается главного экрана, то он тоже имеет надпись «LUMIN» и выглядит довольно просто. Внутри нет значка Changan. Таким образом, мы можем подвести итог, что Lumin может быть отдельным брендом.
Также есть официальное видео от бренда Changan. На нем мы видим, что центральный туннель Lumin Corn имеет один подстаканник. Второй ряд сидений можно сложить в ровный пол. Но сам багажник все равно маленький.
Конкуренты Changan Lumin

Wuling Hongguang Mini EV 
Baojun KiWi EV 
Мороженое Chery QQ 
Chery eQ1 (Муравей)
Changan Lumin Corn довольно большой по сравнению с Wuling Hongguang Mini EV. Lumin Corn на 353 мм длиннее, на 207 мм шире и на 76 мм ниже. Но эти две машины по-прежнему играют в одном и том же сегменте городских автомобилей. То же самое касается и других микроэлектромобилей, таких как Chery QQ Ice Cream, Baojun KiWi EV и т. д. Кажется, что Chery eQ1 (Ant) является ближайшим конкурентом Changan Lumin Corn. У eQ1 почти такие же габариты, две двери и электродвигатель мощностью 30 кВт.
Changan Lumin Corn — красивый небольшой электромобиль, который вскоре появился на китайском рынке. Он может стать модным среди китайских покупателей, так что мы будем следить за этим автомобилем с большим вниманием. Следите за обновлениями!
Источник: MIIT, Changan Weibo, Weibo汽车拍客阿睿, Autohome.
Вам также может понравиться
- Changan Lumin Corn, мини-электромобиль с запасом хода 301 км от Avatr, представленный в Китае
- Changan Lumin Corn запущен в Китае с запасом хода 301 км и стартовой ценой 7300 долларов США
- BYD Seal, Geometry E и другие анонсированные NEV из Китая — март 2022 г. (часть 1)
- В Китае шпионили за новым компактным электромобилем Changan












